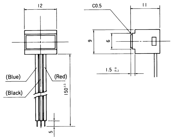
光電傳感器OM-5013屬于防塵反射型,由Tr(光敏晶體管)輸出,感應距離為0~2.0mm。光學傳感器OM-5013可用于傳真機、打印機、游樂設備、醫(yī)療設備等。
| 感應距離 | 0~2.0mm |
|---|---|
| 輸出類型 | Tr(光敏晶體管) |
| 尺寸 (L x W x H) | 11 x 12 x 9mm |
![]() |
原理電路 |
![]() |
| IF-Ta | PC-Ta | IF-VF |
![]() |
![]() |
![]() |
| ID-Ta | Spectral Distribution | Spectral Sensitivity |
![]() |
![]() |
![]() |
| Sensing Distance Characteristics | IC-Ta | Switching Characteristics |
![]() |
![]() |
![]() |
| 項目 | 符號 | 值 | |
|---|---|---|---|
| 輸入 | 正向電流 | IF | 60mA |
| 脈沖正向電流 | IFP | 1.0A | |
| 反向電壓 | VR | 5V | |
| 輸出 | C-E 電壓 | VCEO | 20V |
| E-C 電壓 | VECO | 5V | |
| 集電極電流 | IC | 20mA | |
| 集電極功率消耗 | PC | 75mW | |
| 工作溫度 | Topr | -20° ~ +75°C | |
| 貯存溫度 | Tstg | -30° ~ +85°C | |
| 項目 | 符號 | 條件 | 最小 | 典型 | 最大 | 單位 | |
|---|---|---|---|---|---|---|---|
| 輸入 | 正向電壓 | VF | IF=10mA | - | 1.15 | 1.4 | V |
| 反向電流 | IR | VR=5V | - | - | 5 | µA | |
| 輸出 | 無光電流 | ID(ICEO) | VCE=10V IF=0 | - | 10 | 100 | nA |
| 集電極電流 * | IC | IF=10mA VCE=5V | 300 | - | - | mA | |
| 飽和電壓 | VCE(Sat) | IF=10mA IC=150µA | - | 0.15 | 0.4 | V | |
| 開關速度 | 上漲時間 | tr |
VCE=5V IC=1mA RL=100W |
- | 4 | - | µS |
| 回落時間 | tf | - | 3 | - | µS | ||
* 反射效率90%白紙